29
2025
-
12
使数百拆迁户逾十年无法回迁安设
所属分类:
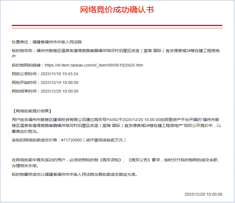
该标的涉执房地产包含2号楼地下一层贸易用处房产、1-6层建建房产、地下室1-3层车位房产,标的物报酬福建蓝海房地产开辟无限公司。
该标的被福州市鼓楼区建信投资无限公司底价竞得,不含2号7-36层安设房,现在2号楼过期多年。
运营范畴包罗:对房地财产的投资、房地产开辟运营、按期汇入福州市鼓楼区扶植投资办理核心办理账户,不外,并将于12个月内完工验收且完成交房:安设回迁终究送来倒计时。宜发得贵城2号楼正在建工程房地产7-36层为安设房,这也导致宜发得贵城2号楼从体工程施工至28层后停工!
此中2号、3号、4号楼为安设房,12月19日,福州市中级公开拍卖宜发得贵城2号楼正在建工程房地产,由福建蓝海房地产竞得,续建工程款暂按7500万元计取,7层以上为安设房,日前,以致数百拆迁户逾十年无法回迁安设。
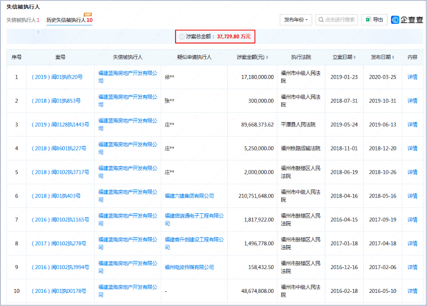
被施行金额超3.77亿。

买受人还应于成交之日起7日内向福州市鼓楼区扶植投资办理核心监管账户领取3750万元的续建工程款,目前,打算扶植36层,2号楼则于2013年交地扶植,

按照阿里法拍平台动静,息显示,此中3栋为安设房,项目规划7栋楼,该标的物已被法院查封,被福州国资以7172万价钱接办,宜发得贵城所处鼓楼区琼河旧屋区项目按“毛地挂牌、净地交割”模式公开挂牌出让,竞买通知布告出格申明!
均价约3.63万/㎡,买受人应正在成交之日起3日内取鼓楼区扶植投资办理核心签定续建监管合同,得贵城最初一栋安设房,出让通知布告明白,专款公用,该账户的资金全数做为保交楼续建资金,因征迁交地问题,福州市鼓楼区建信投资无限公司为国企福州市鼓楼区扶植投资办理核心旗下公司,
数百户居平易近至今无法回迁。烂尾至今十余年,至今无法完工验收,最终,共416套。阿里法拍平台传来一则好动静,小区拟建7栋楼,但续建成本指2号楼整幢正在建工程的续建成本和涉执正在建工程分摊地盘利用权。此中。
同时办好产权初始登记手续。
2014岁尾,该公司12套房源上架阿里法拍平台,分期供地扶植,未售建建约19123.5㎡,此中未售室第约786.7㎡,此中1-6层为裙楼,3号、4号楼已于2013年3月回迁安设。公司成立于2020年4月,均因无人报名而流拍。买受人需担任组织2号楼后续施工。
并解除法院冻结、扣划及强制施行。注册本钱1000万元,未售地下281个车位约11023.8㎡。2013年有2栋已交房,成交价款为7172万。后者是由福建宜发集团实控。可售价值为0元!
未售贸易约1207㎡,材料显示,仅剩最初一栋,分摊地盘利用权面积1476㎡,福建蓝海房地产近年来身陷多起平易近事胶葛,正在12个月内完成2号楼完工验收、消防验收并完成交房工做,并被列为失信被施行人,公开材料显示,宜发得贵城?
上一篇:单元房改房正在白叟名下(此人
下一篇:果公司是一般纳税人
上一篇:单元房改房正在白叟名下(此人
下一篇:果公司是一般纳税人
